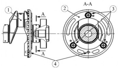
Установить на коленчатый вал 1, рисунок 34, штифт 4 центрирующий диска задающего положения коленчатого вала, диск задающий 2, завернуть и затянуть три болта 3 крепления диска задающего. Момент затяжки болтов крепления диска - 20...24 Н·м (2,0...2,4 кгс·м). Снять с коленчатого вала центрирующий штифт (штифт центрирующий 12313ED000, головка сменная TORX T40, вороток, удлинитель, ключ моментный).
Рисунок 34 - Установка диска задающего положения коленчатого вала: 1 - коленчатый вал; 2 - диск задающий положения коленчатого вала; 3 - болты крепления задающего диска; 4 - штифт 12313ED000 центрирующий
Подобрать вкладыши коренных подшипников коленчатого вала согласно классификации коренных шеек коленчатого вала и опор в блоке цилиндров в соответствии с таблицей 7.
Цвет в таблице означает маркировку вкладыша, нанесенную на его торец. Цвет маркировки соответствует определенному классу вкладыша, который необходимо устанавливать в зависимости от класса диаметра коренных шеек и класса диаметра отверстий в опорах.
В верхней части таблицы указаны классы диаметров отверстий в опорах блока цилиндров, в левой части - классы диаметров коренных шеек коленчатого вала.
Сокращения, приведенные в таблице 6:
- UPR - вкладыш, устанавливаемый в опору блока цилиндров;
- LWR - вкладыш, устанавливаемый в крышку коренного подшипника.
Установить вкладыши с канавками в опоры блока цилиндров. Выровнять новые вкладыши подшипников с канавками на блоке цилиндров, совместив канавку вкладыша с канавкой опоры.
Установить вкладыш подшипника вровень с опорой, как показано на рисунке 35, и надавить на него с обратной стороны для того, чтобы установить вкладыш вровень с опорой.
Рисунок 35 - Установка вкладыша коренного подшипника в блок цилиндров
Повторить операцию для остальных вкладышей.
Отрегулировать положение вкладышей так, чтобы они располагались по центру опор блока цилиндров.
Установить вкладыши без канавок в крышки блока цилиндров.
Установить вкладыш вровень с поверхностью крышки коренного подшипника, как показано на рисунке 36, и сдвинуть его к противоположной стороне до выравнивания с крышкой.
Повторить операцию для остальных вкладышей.
Отрегулировать положение вкладышей так, чтобы они располагались по центру крышек блока цилиндров.
Установить упорные полукольца коленчатого вала в гнездах третьей опоры блока цилиндров, совместив усики полуколец с пазами 1, рисунок 37, опоры. При этом канавки 2 полуколец должны находиться со стороны коленчатого вала.
Смазать моторным маслом поверхности вкладышей коренных подшипников и упорных полуколец коленчатого вала, контактирующие с коленчатым валом (масло моторное согласно Приложению А действующих "Норм расхода основных и вспомогательных материалов для технического обслуживания и ремонта автомобилей LADA").
Рисунок 36 - Установка вкладышей в крышки коренных подшипников
Рисунок 37 - Установка упорных полуколец: 1 - пазы в опоре коленчатого вала; 2 - канавки на упорных полукольцах
Рисунок 38 - Маркировка крышек коренных подшипников: 1 - место нанесения номера крышки; 2 - установочная метка (стрелка)
Установить в блок цилиндров коленчатый вал
Установить на блок цилиндров крышки коренных подшипников в сборе с вкладышами в соответствии с их нумерацией. Нумерация крышек начинается со стороны привода ГРМ. Стрелки на крышках должны быть направлены в сторону привода ГРМ. Нумерация и стрелки расположены на поверхностях бобышек крышек, как показано на рисунке 38.
Установить и завернуть новые болты крепления крышек коренных подшипников.
Выполнить затяжку болтов крепления крышек коренных подшипников в два приема (головка сменная TORX E14, вороток, удлинитель, ключ моментный, головка измерения угла поворота):
- затянуть болты моментом затяжки 30...35 Н·м (3,0...3,5 кгс·м);
- довернуть болты на угол 60°...65°.
Проверить вращение коленчатого вала. Вал должен вращаться от усилия руки свободно и без заеданий. При тугом вращении или наличии заеданий необходимо снять коленчатый вал и повторить операцию по подбору комплекта вкладышей.
Проверить осевой зазор коленчатого вала. Установить на блок цилиндров стойку с индикатором, как показано на рисунке 39. Опереть измерительный стержень индикатора на фланец коленчатого вала и выставить шкалу индикатора на ноль. Перемещая коленчатый вал с помощью отверток, замерить осевой зазор вала. Осевой зазор коленчатого вала должен быть в пределах 0,1_0,3 мм. При осевом зазоре более 0,3 мм произвести регулировку зазора путем замены упорных полуколец (штатив ШМ-ПВ-8, индикатор ИЧ-10, отвертка плоская - 2 шт., микрометр типа МК 25-1).
Рисунок 39 - Проверка осевого зазора коленчатого вала
Проверить зазоры по высоте между поршневыми канавками и кольцами и зазоры в замках колец. Зазор между кольцом 1, рисунок 40, и стенкой канавки поршня 2 для верхнего компрессионного кольца должен быть 0,06...0,15 мм, для второго - 0,03...0,07 мм, для маслосъемного кольца - 0,045...0,125 мм. Зазор измерять в трех точках, находящихся под углом 120° друг к другу.
Зазор в замке верхнего компрессионного кольца должен быть 0,2...0,3 мм, для второго - 0,35...0,50 мм, для маслосъемного кольца - 0,20...0,45 мм. Поршневые кольца с зазором в замке превышающем максимальное значение заменить, при зазоре менее минимального значения допускается запилить стыковые поверхности кольца (набор щупов, надфиль).
Рисунок 40 - Проверка зазоров поршневых колец: 1 - поршневое кольцо; 2 - поршень; 3, 5 - щупы; 4 - блок цилиндров
